Description
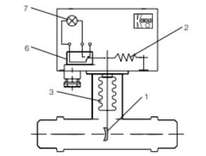
Kobold DWN Paddle Bellows Flow Monitor DWN works according to the diaphragm plate principle. Baffle/paddle (1) is reflected in the flow direction against the force of the spring (2) by the flowing medium. A stainless steel bellow (3) seals off the system hermetically between the medium and measuring unit/indicator. The motion is transferred positively from the baffle

(1) to the measuring section. In the measuring section, a microswitch (6) and a pilot lamp (7) are operated as soon as the set switching point is exceeded or undershot. Thus the change in flow is signaled locally by the switching point pilot lamp (illuminates for undershooting). At the same time, switching operations are triggered by the microswitch, designed as a 3-pole changeover contact.
The displacement-deflection technique is one of the most secure systems available as motion is transferred positively from the baffle plate to the measuring section. With these flow monitors, if the T piece becomes clogged up with lime, foreign objects, or dirt, the system responds with “no flow”. It is practically impossible for the system to hang up in a position that indicates flow when there is no flow.
Kobold DWN Paddle Bellows Flow Monitor Areas of Application
- Heavy goods industry
- Rolling mills and mill trains
- Chemicals and pharmaceuticals industries
- Drinks and semi-luxury food industry
- General mechanical engineering and capital equipment
- Measurement and monitoring of product, cooling, and lubricant circuits
Specifications
| Material combination | Material combination | Material combination | |
| Material combination | 5 | 6 | 7 |
| T piece | Brass | Stainl. steel | PVC |
| Connecting thread | Brass | Stainl. steel | PVC |
| Connecting flange | Steel zincplated | Stainl. steel | PVC |
| Weld-on flange | Steel sprayed S | Stainl. steel | Boring pipe box PVC |
| Paddle system | Brass | Stainl. steel | Stainl. steel |
| Bellows | Stainl. steel | Stainl. steel | Stainl. steel |
| Seals | FPM | FPM | FPM |
| Case meas. section | Stainl. steel | Stainl. steel | Stainl. steel |
| Covering hood | Polycarbonate | Polycarbonate | Polycarbonate |
| tmax* | 100°C | 100°C | 20°C (60°C) |
| pmax* | 16 bar | 16 bar | 16 bar (2 bar |
Download Datasheet: Kobold DWN Paddle Bellows Flow Monitor
Reference: kobold.com
Other Article:
- Digital Display for Signal Input DSA 9648 Hengesbach
- Digital Tank Level Display DTA 1010 Hengesbach
- DTA 9468 Digital Tank Level Display Hengesbach
- Kobold DWN Paddle Bellows Flow Monitor
- Kobold FPS Paddle Bellows Flow Monitor



